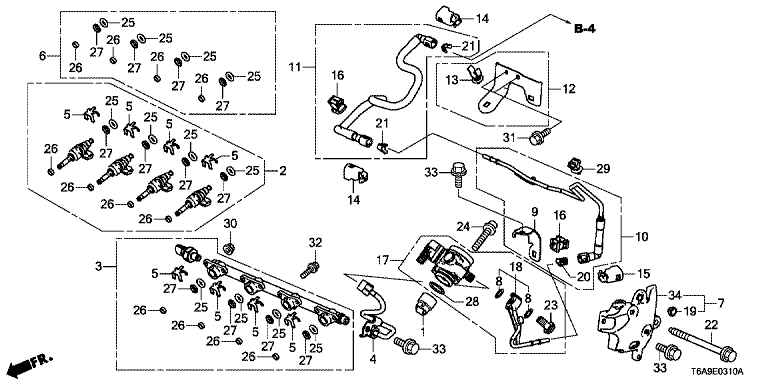
HOSE FUEL FEED
Part number: 16722-5X6-J01
Brand: Honda
Related parts
【1】147805A2A01 Lifter comp., oil pump
【4】160125A2315 JOINTHOSE,COMPF
【4】160125A2325 JOINTHOSE,COMPF
【6】164535A2A00 Seal set, injector
【7】165125A2A00 SUPPORT, FUEL PIPE
【8】167055A2A01 Washer, sealing, 12mm
【10】167215A2A01 Pipe comp. B, fuel feed
【12】167235X6J00 Stay assy-fuel feed hose
【13】16725RAC003 CLAMP,FUEL PIPE
【14】16725RNAA00 HOLDER A,FUEL CON
【16】16727PND004 CLAMP,FUEL PIPE
【17】167905A2A01 Pump assy., fuel hig
【17】167905LAA01 Pump assy., fuel hig
【18】167925A2A00 HOSE FUEL FEED
【19】17213P8AA00 MT RUBBER,IN MNFL
【22】900135A2A00 BOLT,FLANGE,8X85
【23】900205A2A01 BOLT,FLANGE8X95
【24】901305A2A00 Bolt, socket 8X35
【25】913075A2A01 O-ring, 5.85x3.53
【26】913085A2A01 SEAL-INSIDE HANDLE,LH
【28】913115A2A01 GLASSCOMP,SIGHT
【29】91591TA0A01 Clamp A, fuel tube
【31】957010601208 Bolt, flange 6X12
