Brand: Acura
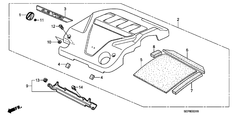
【1】17120RDAA00 EMBLEM SYMBOL
【10】90501SS8A01 RETAINER
【11】90672SW5003 PUSH,NUT 2.3MM
【12】91501SS8A01 BOLT
【13】91601SS8A01 Socket
【14】957010601408 BOLT,FLANGE,6X14
Features & Benefits