Brand: SKODA
【4】1H0201449 CLIP,SIDE MOULDING
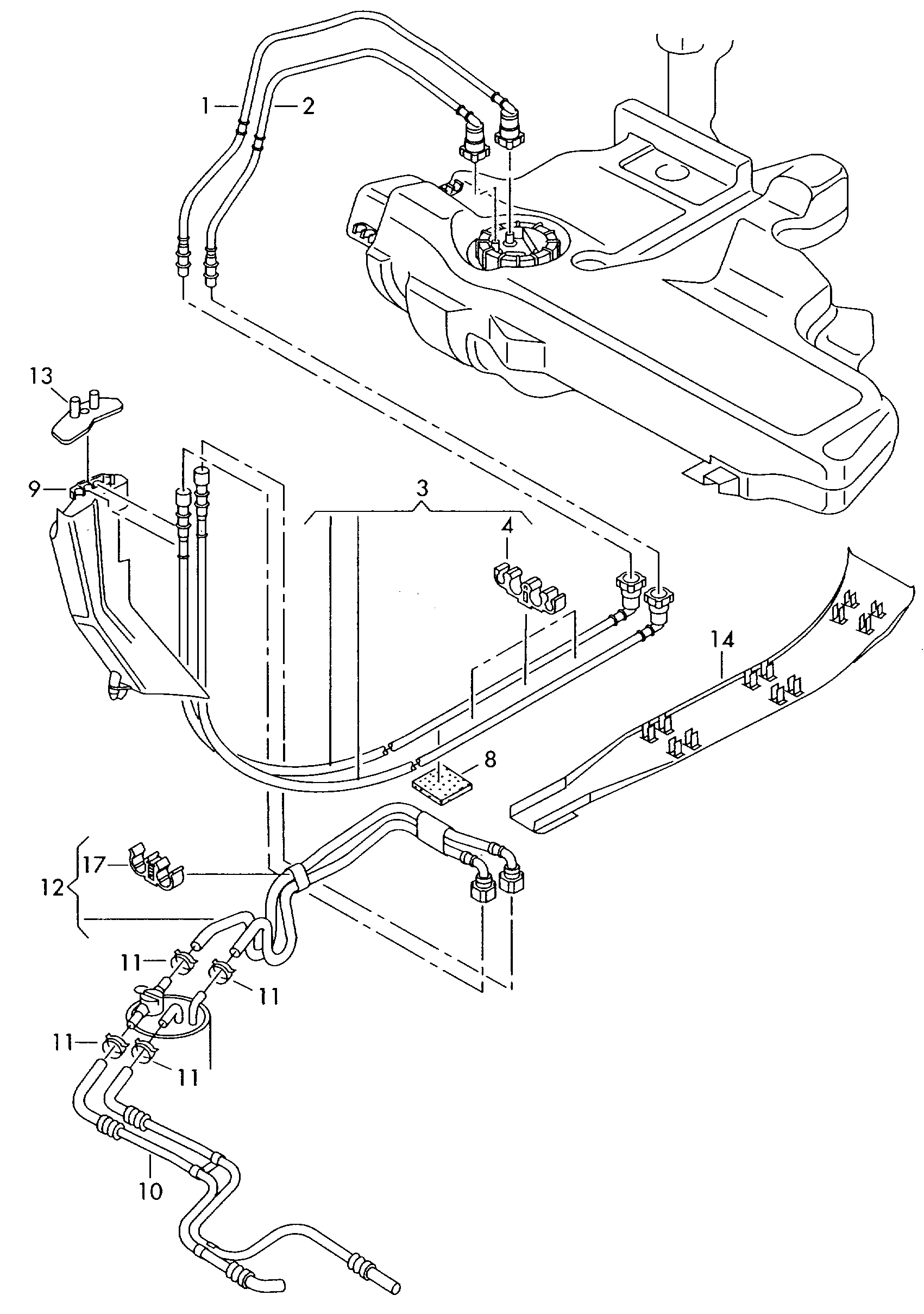
【8】1H9864733 Damper
【2】1J0201294C PIPE-FUEL
【14】1J0201488C Cap, fuel tube
【9】1J0201961B Protector-heat
【13】1J0201970C Protector
【11】N10292201 Clip-band
Features & Benefits
Related Factories
Hebei Song Auto Parts Co., Ltd.
Hangzhou Meike Auto Parts Co., Ltd.
Anhui Shengjiuding Auto Parts Co., Ltd.
Qinghe Shengding Rubber Products Co., Ltd.
Guangzhou Chuanshan Construction Machinery Parts Co., Ltd.