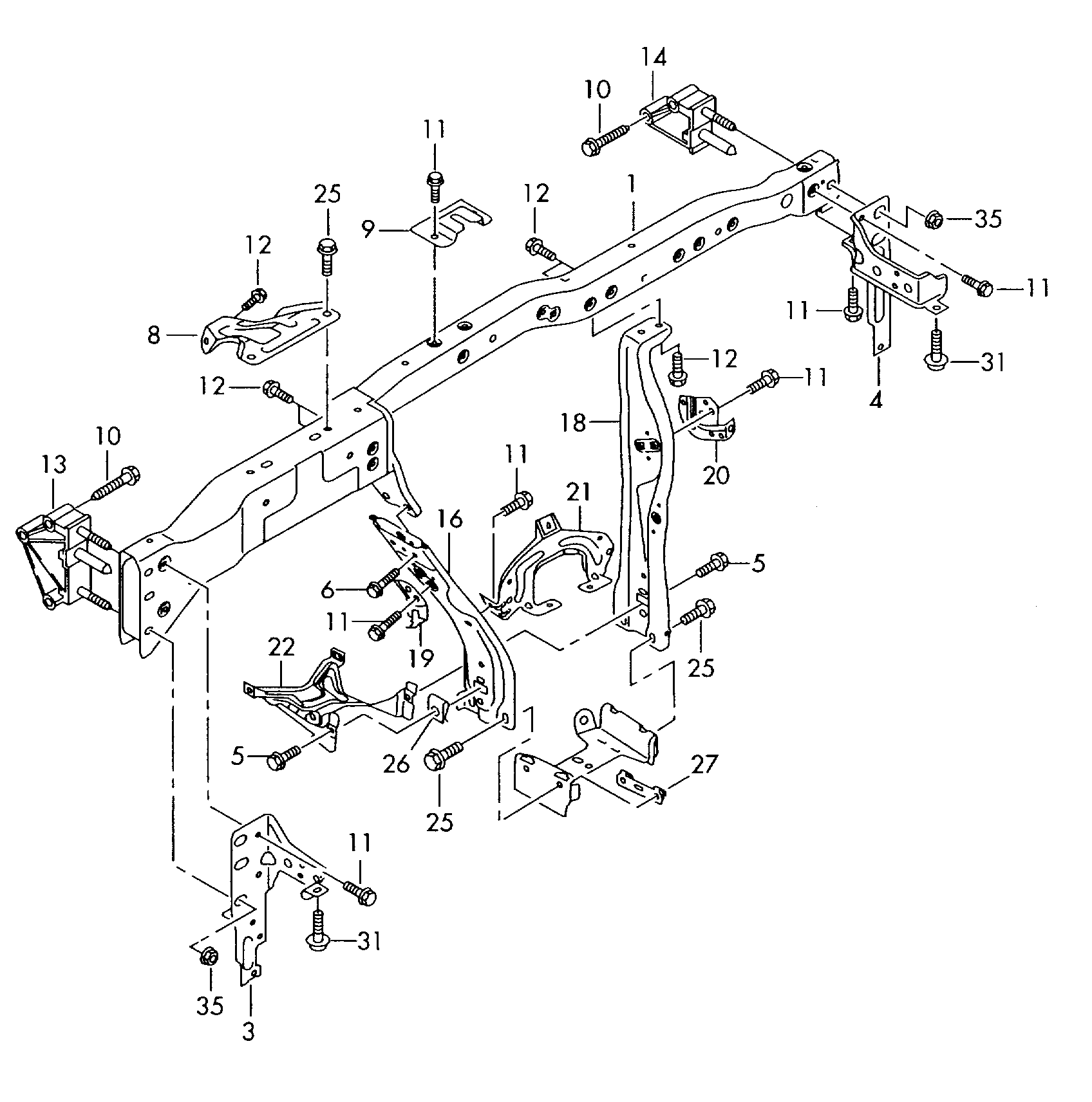
Member, instrument panel cross
Part number: 1KD 858 045
Brand: SKODA
Related parts
【8】1K1858765 Strut-elbow joint
【18】1K1858784C Bracket (co-pilot position)
【13】1KD857021 Frame assy-crossmember (driver seat)
【16】1KD858783 Bracket (driver seat)
【9】1Z0858037B Plate, retaining
【19】1Z1858505B Bracket, instrument panel
【20】1Z1858506B Bracket, instrument panel
【21】1Z1858897B CONNECTOR/F20/F21/F30/F31
【10】N10604402 BOLT
【5】N90729002 Bolt, oval (combination)
【25】N91033301 Six angle combined bolt
【12】N91079901 BOLT
