BODY SUB ASSY,SER
Part number: 27405-PRP-J00
Brand: Honda
Related parts
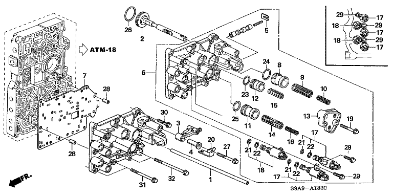
【2】24271PRP000 Shaft, shift fork
【3】24630PRP000 ARM COMP,CHANGE D
【6】27405RCL901 BODY SUB ASSY,SER
【7】27412PRP010 Plate, servo valve
【8】27561PRP000 PISTON,LOW ACCUM
【10】27564PRP000 SPG B,LOW ACCUM
【11】27572PRP000 PISTON,2ND ACCUM
【12】27574PRP000 Piston, 3rd accumulator
【13】27580PRPJ00 Cover assy-server
【14】27581PRP000 SPG A,2ND ACCUM
【15】27583PRP000 Spring, third accumulator
【16】27584PRP000 SPG B,2ND ACCUM
【17】28400PRP004 S0LEN0ID ASSY A
【18】28500PRP004 VALVE ASSY-SOLENOID
【19】90001PRP000 Bolt 6X30, flange
【20】90433PRP000 Washer lock 6mm
【21】91301P7Z004 O-ring 7.6x1.9
【22】91302P7Z004 O-ring, 9.6x1.9
【23】91321PF4004 O-RING, 18.3X2.4
【24】91331PC9003 O-RING 21.2X2.4
【25】91331PL5J00 O-RING,20.2X2.4
【26】91344580000 O-RING, 31X2.7
【28】9430108140 Dowel, pin, 8X14
【29】957010601608 Bolt 6X16, flange
