Factories
Cart
Help
Sign In
Home
Factories
Cart
Sign In
Home
Car Parts
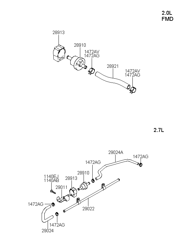
2902437110
HOSE-VAPOR
Part number: 2902437110
Price:
USD 0.00
/Unit
Brand:
Hyundai
Add to cart
Add to Watchlist
Details
Features & Benefits