Starbolt with plain washer
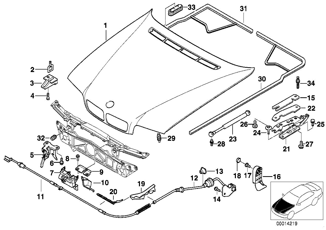
Part number: 41628226195
Brand: BMW
Related parts
【04】07119901268 Plate bolt black
【25】07119915021 Hex bolt with washer
【17】07146959892 Bolt-cross for plastic
【08】07146985055 Starbolt with plain washer
【14】07147117570 Screw, oval tapping
【24】07149112449 TORX-BOLT WITH WASHER
【06】07149156085 Starbolt with plain washer
【01】41618183124 Steel assy-fr cover
【21】41618203271 Hinge assy dr f lh
【21】41618203272 Cover-fr hinge rh
【27】41618226193 Starbolt with plain washer
【14】51161964677 Starbolt with plain washer
【18】51181823474 COVER-CHILD LOCK LEVER
【17】51188122524 Bolt-cross for plastic
【23】51238150077 Lifter, air press
【12】51238150080 ENGINE HOOD MECHANISM X5/E53
【07】51238164763 Hood lock lower lh
【07】51238164764 Hood lock upr rh
【05】51238164766 HOOD CATCH512026
【08】51238165044 Starbolt with plain washer
【06】51238165153 Starbolt with plain washer
【09】51238166681 Plate, centering
【03】51238166682 Protection-torsion
【32】51238186700 Stopper-buffer
【19】51238186897 Cover cable lh
【19】51238186898 Cover cable rh
【20】51238186899 Moulding cable lh
【20】51238186900 Moulding cable rh
【16】51238226621 HANDLE-BONNET OPENING/E38/E39
【05】51238232129 HOOD CATCH512026
【28】51247010221 Journal-spherical
【29】51248187291 Cushion stopper
