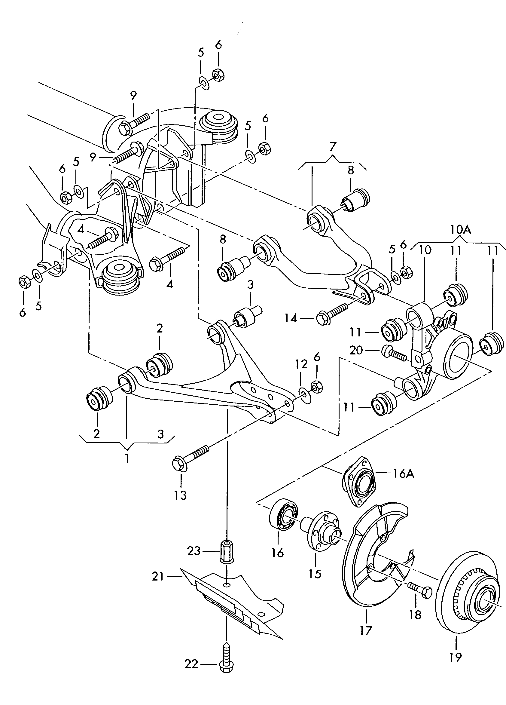
WHEEL HUB-TOUAREG-2003-2009
Part number: 4D0 407 615 F
Brand: Audi
Related parts
【15】4A0407615G WHEEL HUB-TOUAREG-2003-2009
【1】4B0505311 Track control arm frt rh F 4B-3-060 000 *
【1】4B0505312 Track control arm frt rh F 4B-3-060 000 *
【16】4D0407625E Bearing, double tilt ball
【12】8A0501385A Washer-eccentric
【8】8E0505185C Mounting-rub metal F 4B-3-060 000 *
【14】N10272202 Six angle combined bolt
【9】N10421304 Six angle combined bolt
【23】N90817302 NUT
【22】N90928701 Six angle combined bolt
【13】WHT001661 WASHER
