Joint comp., l. fr
Part number: 51230-SNA-A03
Brand: Honda
Related parts
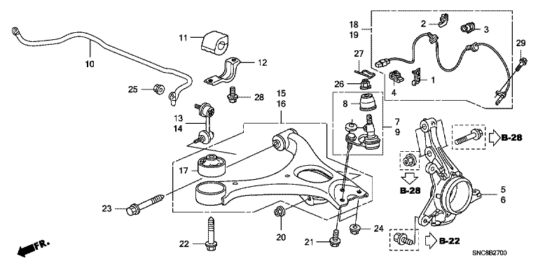
【1】42521SNA003 Clip, fr. wiring
【2】42522SLJ003 Clamp, wiring harness
【3】42522SNA003 Clamp, wiring harness
【7】51220SNAA03 Joint assy-lower ball, front rh
【8】51225SNAA01 BOOT,LWR BALL FR
【10】51300SNAA02 SPRING,STABI FR
【11】51306SNAA02 BUSH,STABI HOLDER
【12】51308SNAA01 Bracket, fr. stabili
【13】51320SNAA02 ROD STRUT STABILIZER A4/A6/A7
【14】51321SNAA02 ROD STRUT STABILIZER A4/A6/A7
【15】51350SNAA03 Arm comp., r. fr. lo
【16】51360SNAA03 LWR ARM COMP,L FR
【17】51391SNA305 BUSH
【18】57450SNA003 SENSOR ASSY,FRONT
【19】57455SNA003 SENSOR ASSY,FRONT
【20】90002S10000 Nut, flange 10mm
【21】90018SNA010 Bolt, flange, 12X18
【22】90116SNA010 BOLT,FLANGE 14X94
【23】90118SNA000 BOLT,FLANGE 12X84
【24】90215SB0003 Nut, self lock 12mm
【25】90306SB2013 Nut, self lock 10mm
【26】90363S3VA01 Nut castle 14mm
【27】90701SKC003 PIN,SPLIT (M14)
【28】934011002008 Bolt-wash., 10X20
