Brand: SKODA
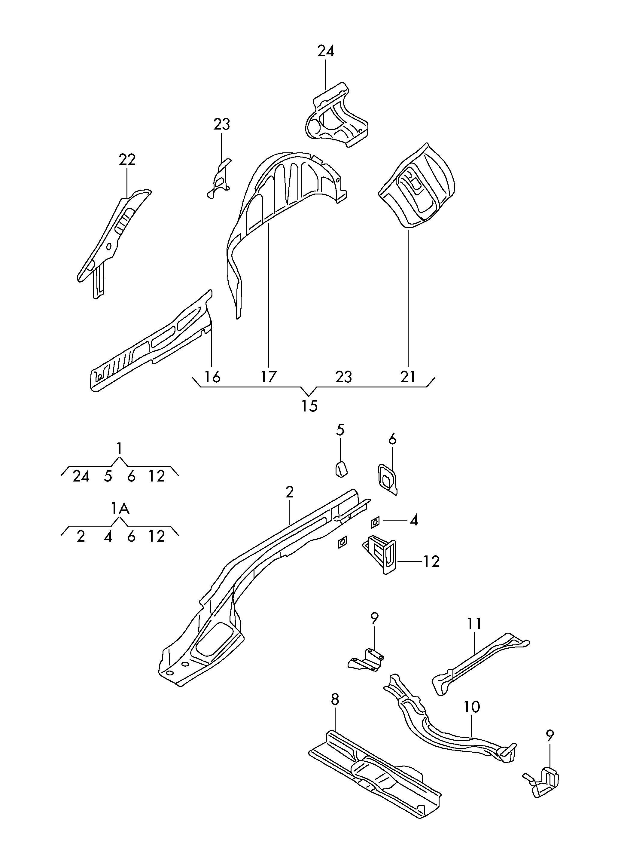
【12】1K0803215A Spacer
【2】1K0803506A Member
【8】1K0803531A Rail-deck
【5】1K0803545A Bracket-exhaust
【17】1K0810425A Insert, wheelhouse
【17】1K0810426C Insert, wheelhouse
【10】1K6803133 Crossmember, for spare wheel run
【9】1K6803347 Stiffener
【11】1K6804277 Holder
Features & Benefits