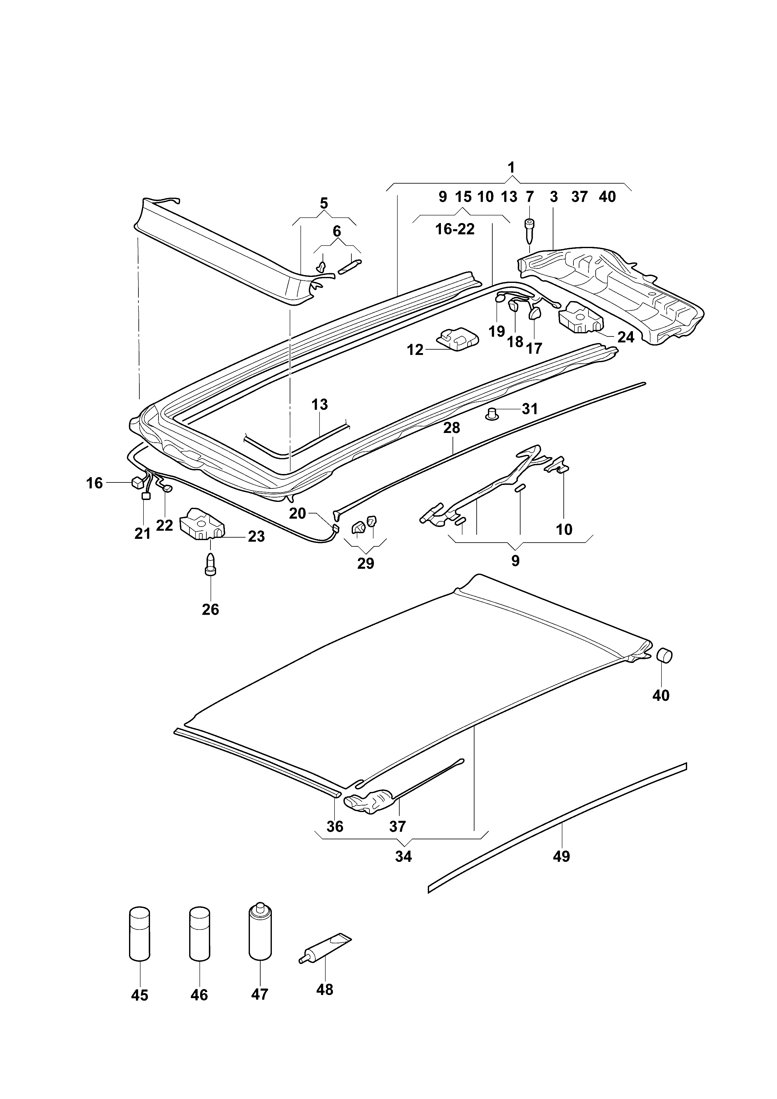
Plate
Part number: 5TD 898 671
Brand: Volkswagen
Related parts
【19】1J0972704 Socket-flat contact
【24】3VD877795 Motor, sliding roof
【10】5G9971499 Sensor assy-panoramaroof
【18】5N0972705 Socket, flat contact
【1】5TD877049B Frame, sliding-valgus mechanism
【34】5TD877307AWZ6 Sunshade roller
【5】5TD877651 Plate, windshield washer
【23】5TD877795 Motor, sliding roof
【40】5TD898057 Set of retainer, for sliding roof motor
【9】5TD898738 1 set eversion mechanism
【15】5TD971648C Harness, adaptor
【20】8K0973754 Receptacle, flat contact
【48】AMV195KD101 Bond & seal material
【48】D172090A2 Adhesive-single component MS mounting
【26】N10624302 SCREW
