Factories
Cart
Help
Sign In
Home
Factories
Cart
Sign In
Home
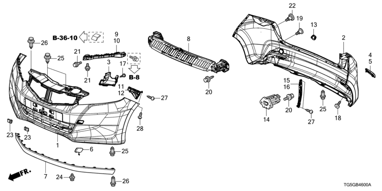
Car Parts
71104TF0505ZZ
COVER,FR TOWING H
Part number: 71104-TF0-505ZZ
Price:
USD 4.40
/Unit
Brand:
Honda
Add to cart
Add to Watchlist
Details
Features & Benefits
Compatibility Vehicles:
Fit, Jazz/Jazz Hybrid