Brand: 本田
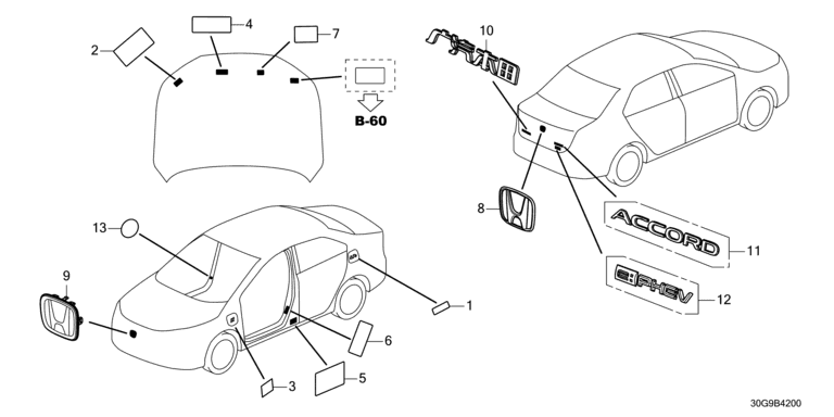
【1】176695AAH01 Label, refueling caution
【2】190435AAH00 Label, coolant information
【7】74149TVEH00 Plate, pop-up hood system warning
【13】78527S04G80 Label, caution as sr
Features & Benefits