Brand: Volkswagen
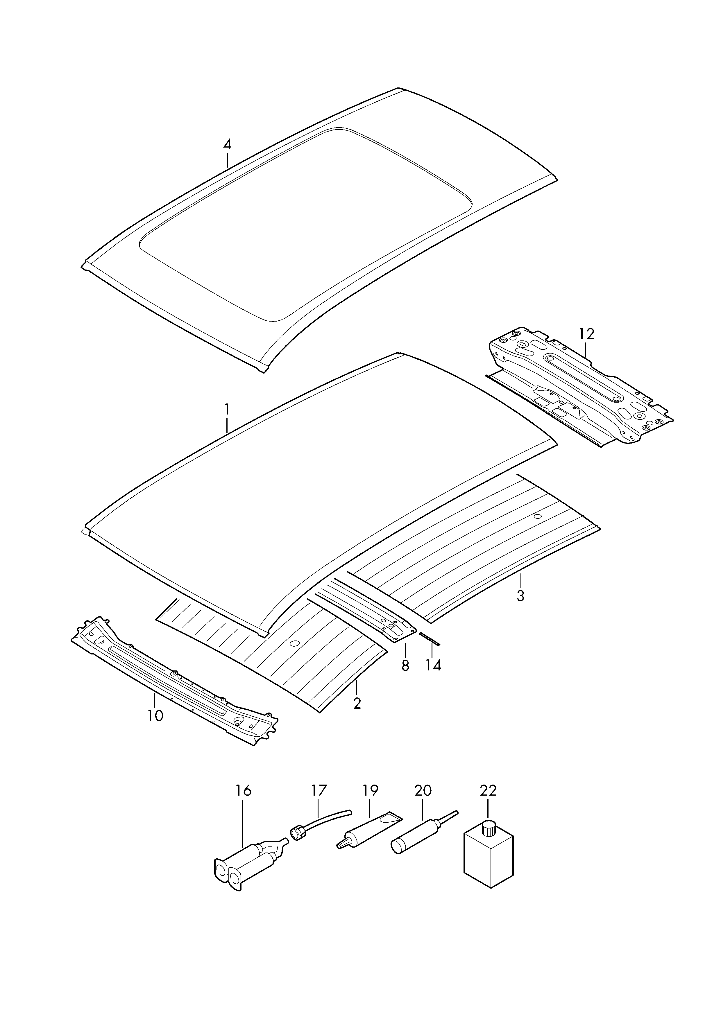
【10】760817505 Frame-roof
【12】760817961 Frame-roof
【17】D003003 Static mixer
【19】D004660M2 Adhesive set, two component window glass
【20】D190MKDA3 Adhesive material assy-single
Features & Benefits