Factories
Cart
Help
Sign In
Home
Factories
Cart
Sign In
Home
Car Parts
Body Parts
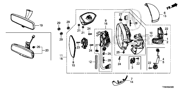
76205TRNH81ZC
Residential suite, rh.
Part number: 76205-TRN-H81ZC
Price:
USD 100.00
/Unit
Brand:
Acura
Add to cart
Add to Watchlist
Details
Features & Benefits