VALVE,EXPANSION
Part number: 7H0 820 712A
Brand: Volkswagen
Related parts
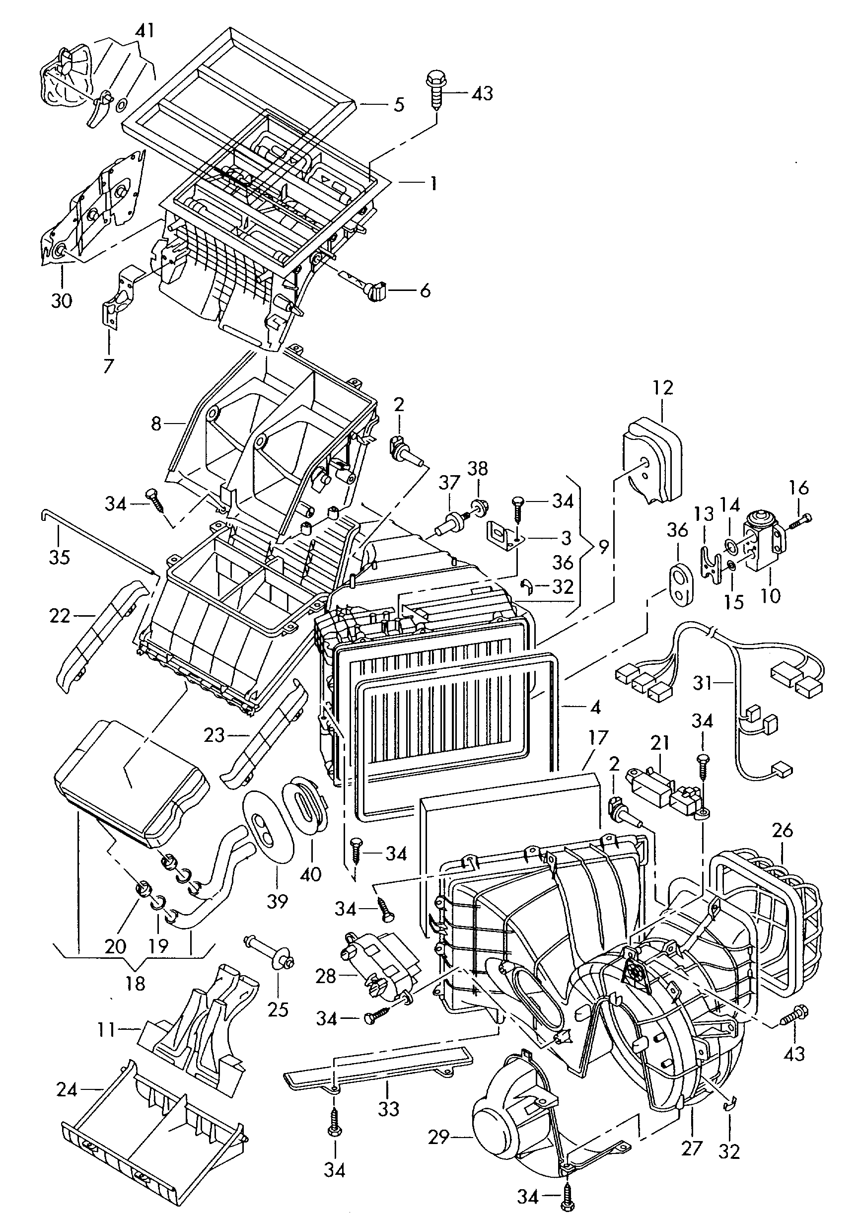
【2】1J0907543A Sensor assy-temp Evaporator
【17】7E0819631 PORSCHE CARRERA AIR FILTER
【17】7H0819631A Biofunctional cab filter
【11】7H0898409 PORSCHE CAYENNEAIR DUCT CENTRE
【18】7H1819031 PORSCHE CAYENNE OILCOOLER 2007
【3】7H1819147A BRACKET-ENGINE SUPP*
【7】7H1819259 BRACKET-ENGINE SUPP*
【24】7H1819422A Cover
【9】7H1820087C Housing, with evaporator
【27】7H5815153A Housing air intake passage
【1】7L0819351H Housing-air distributor
【8】7L0819352B Box assy-power distribution
【21】7L0820536 BRACKET-ENGINE SUPP*
【13】7L0820678 Bracket expansion valve
【28】7L0907521B Adjuster, blower
【14】8E0260749 SEAL
【17】JZW819653E INTERIOR AIR FILTER/VW-PASAT
【16】N10476301 BOLT KIT/AUDI-A3/A4/1994-03
【19】N90973201 SEAL
【43】N90999502 BOLT
