Brand: Volkswagen
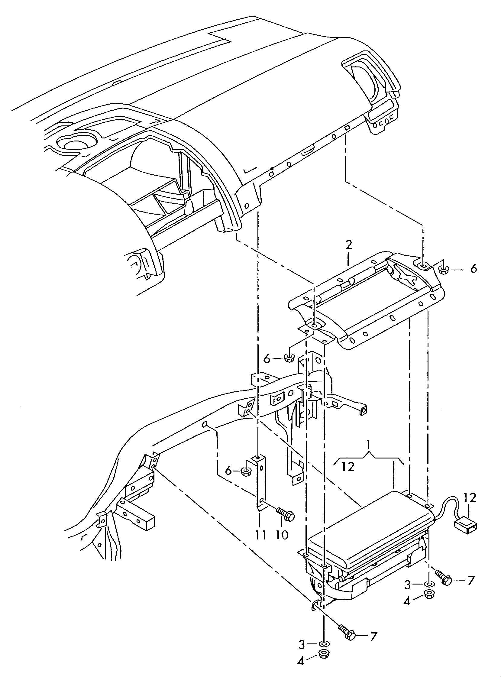
【12】6X0972783 Socket-flat contact
【12】6X0972783A Receptacle, flat contact Connector W/slide ring Ring-callback
【1】7L0880202E Air bag unit (Co-pilot position) **Install now only * * **Order when ordering * * D
【3】N01152426 WASHER
【7】N90167104 Six angle combined bolt
【10】N90533005 Six angle combined bolt
【4】N90887703 SCREW
Features & Benefits
Related Factories
Zhejiang Hanbo Automotive Sensor Co., Ltd.
Zhejiang Siquan Electronic Technology Co., Ltd.
Shanghai Dezheng Auto Electric Co., Ltd.
Foshan Yilian Auto Products Co., Ltd.
Hangzhou Huamao Auto Decoration Accessories Co., Ltd.