ARMRESTC*YR327L*
Part number: 83530-TX3-H01ZA
Price: USD 33.00 /Unit
Brand: CIIMO
Add to cart
Add to Watchlist
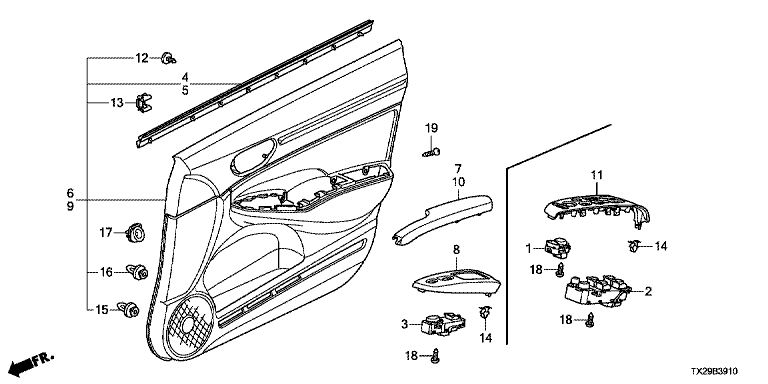
Related parts
【1】35190SNAA01 SW ASSY R/C MIRRO
【2】35750SNVH52 SWITCH ASSY. POWER
【3】35760SNAA04ZA SUB SWITCH ASSY., PO
【4】72335SNAA01 WTHSTP,R FR DOOR
【5】72375SNAA01 WTHSTP,L FR DOOR
【6】83503TX3H01ZA Base assy-fr dr liner rh
【8】83541SNAA01ZA Panel, power window switch
【9】83553TX3H01ZA Base comp., l. fr. d
【10】83580TX3H01ZA ARMRESTC*YR327L*
【11】83591SNAA01ZA Cover, l. rr. power glass switch
【13】90146SDAA00 CLAMP, ROCKER PANEL
【14】90666SDAA01 Clip, snap fit
【15】91560S84A01 Clip, door trim
【17】91561S5PA01 Grommet screw 5mm
