Factories
Cart
Help
Sign In
Home
Factories
Cart
Sign In
Home
Car Parts
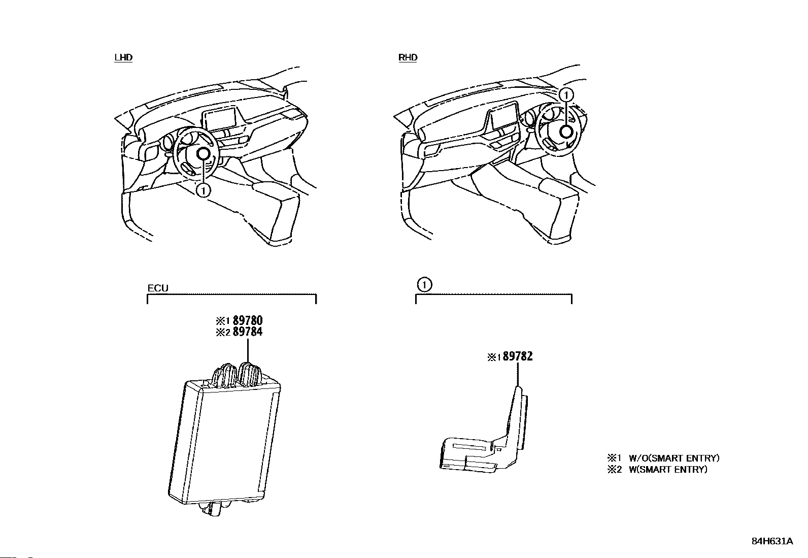
89784F4010
COMPUTER
Part number: 89784F4010
Price:
USD 0.00
/Unit
Brand:
Toyota
Add to cart
Add to Watchlist
Details
Features & Benefits
Compatibility Vehicles:
C-Hr