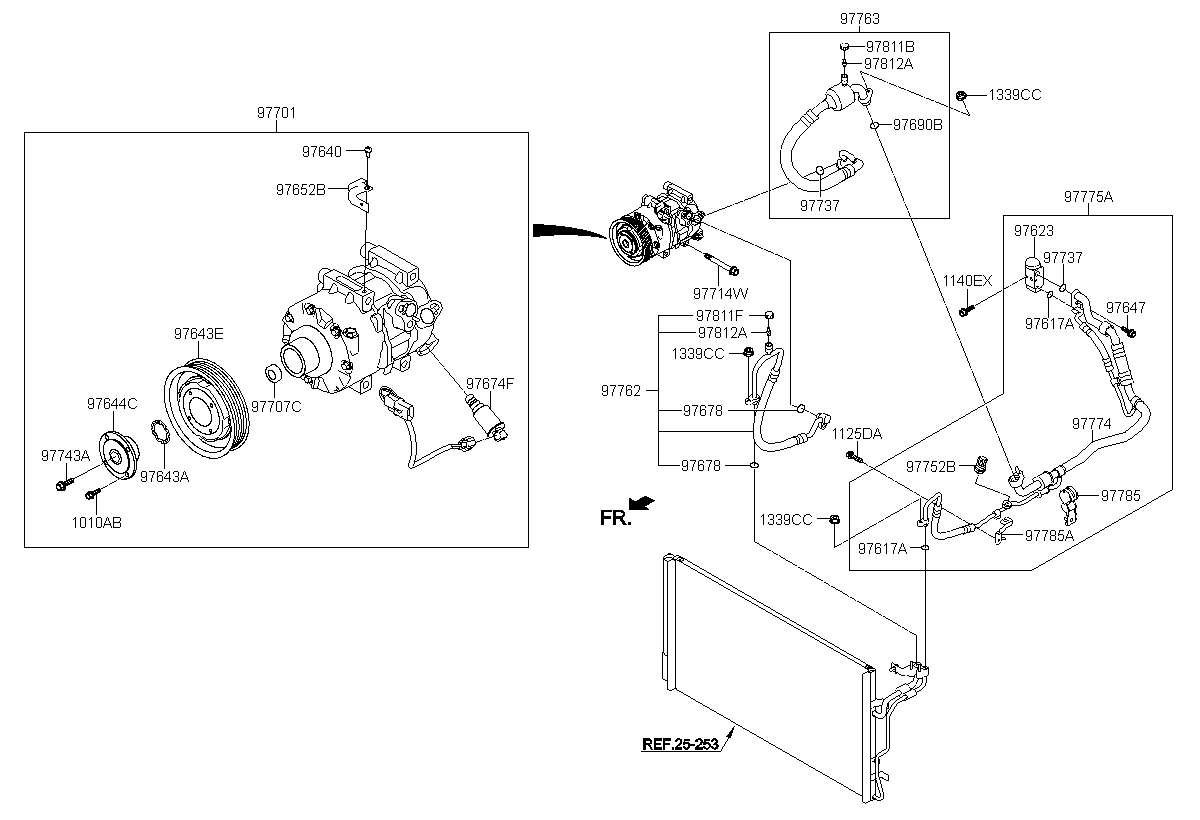
HOSE-SUCTION
Part number: 977633T400
Brand: Kia
Related parts
【1125DA】1125106166B BOLT-WASHER ASSY
【1140EX】1140306456K BOLT
【1339CC】1339506007K NUT-FLANGE
【97644C】976441R100 DISC & HUB ASSY-A/C COMPRESSOR
【97644C】97644M0000 DISC & HUB ASSY-A/C COMPRESSOR
【97643A】976451G000 RING-SNAP
【97743A】976471R100 BOLT
【97647】976472F816 BOLT
【97674F】976742P100 Valve-control
【97674F】976742S000 Valve-control
【97617A】9769034610 O-RING
【97678】9769034630 O-RING
【97737】9769034640 O-RING
【97690B】976904D800 O-RING
【97701】977013T400 COMPRESSOR ASSY
【97707C】977071J000 Seal-a/c compressor shaft
【1010AB】977141R100 BOLT
【97714W】977143C097 BOLT-COMPRESSOR MTG
【97752B】977211G000 Switch compl-tripple
【97762】977623T400 HOSE-DISCHARGE
【97775A】977753T400 PIPE ASSY-RETURN
【97811F】978111D100 Cap-charge valve, high
【97811B】978111D200 CAP-CHARGE VALVE, LOW
【97812A】9781222300 Core-charge
