Brand: Porsche
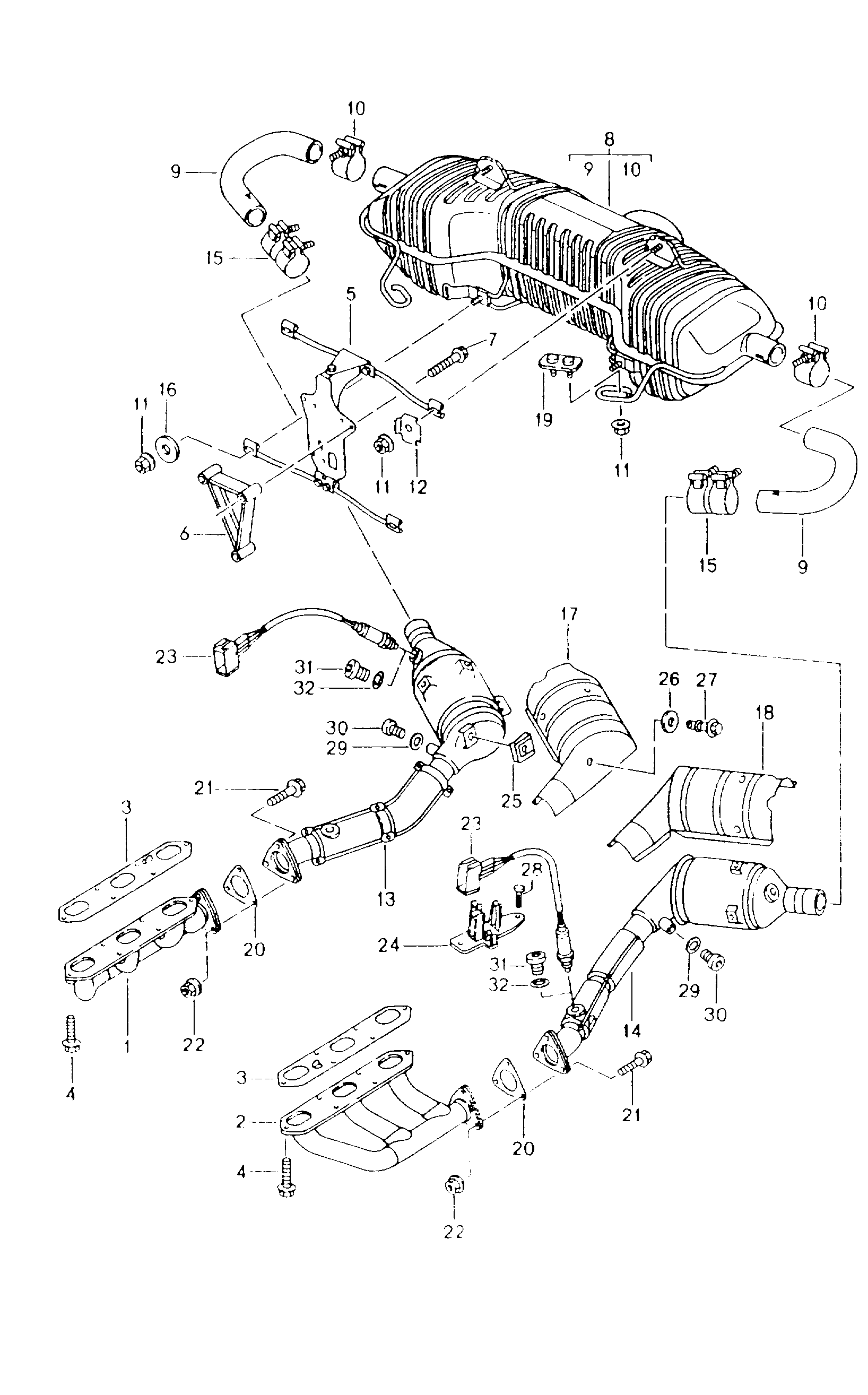
【29】90012305020 Seal ring 8X11,5
【31】90021901500 Plug-screw
【11】90038000501 NUT
【3】99611110754 Grommet Manifold, exhaust Deprecated parts
【3】99611110755 PORSCHE CARRERA GASKET
【10】99611120900 CLIP
【12】99611131101 STIFFENER
【28】99959171240 RIVET
Features & Benefits
Related Factories
Wenzhou Shenghejia Auto Parts Co., Ltd.
Qinghe Huapeng Auto Parts Co., Ltd.
Xingtai Quansheng Seal Manufacturing Co., Ltd.
Shandong Clover Machinery Co., Ltd.
Wenzhou Keshen Motor Manufacturing Co., Ltd.